教师教育国家级实验教学示范中心实训室开放使用通知
为充分发挥教师教育国家级实验教学示范中心的资源优势,切实提升师范生教学技能与职业素养,特开放中心的各类实训场所供师范生进行自主训练。现将相关事项通知如下:
一、开放时间
自2025年5月15日起,在正常工作日开放时段基础上,新增固定开放时段:每周四晚(19:00-21:30)、周六上午(8:00-12:00)。后续将结合师生实际需求,动态调整开放安排。
预约方式
网址:https://zyzhpt.jxnu.edu.cn/,具体预约流程及操作指南见附件,并通过中心官网(https://sysfzx.jxnu.edu.cn/)、教务在线等渠道发布,请密切关注相关通知。
三、联系方式
如有疑问或建议,欢迎随时联系咨询。
联系人:熊老师 (0791)88122925,18679133709
教师教育国家级实验教学示范中心
2025年5月13日
附件:
教师教育实验教学中心实训室预约操作教程
进入【江西师范大学】官网https://www.jxnu.edu.cn/,右下角点击【一站式服务大厅】,使用统一身份认证登录。或者直接键入网址:https://zyzhpt.jxnu.edu.cn/,进入教师教育预约管理平台登录页面
(此处的密码不同于一站式服务平台,初始密码为学号或工号,登录成功后可在平台修改密码)
,则可跳过步骤2。

点击→【业务系统】模块。

或在服务中心可以看到【其他】→【教师教育预约管理平台】

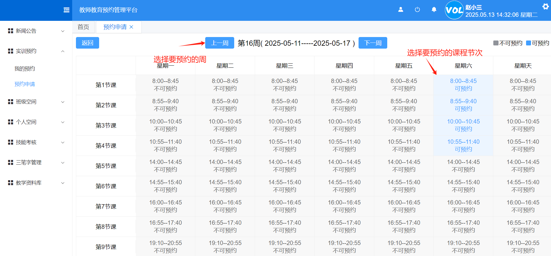
3. 点开“实训预约”,选择”预约申请“,打开预约申请界面。

4.选择微格实训室,点击图标打开。

5.在打开的实训室信息窗口里选择“计划外预约”,计划外预约是指除课表安排的教师教育课程外的个人实训。

6.在预约窗口可以选择预约的周次时间和课程节次

7. 阅读实验室管理规章制度并填写预约信息。

8.确认预约后会提示预约成功信息,请准时到实训室进行实训。也可以在“我的预约”里查看信息。


